FENYX : ALTER THESAURUS SCRIPTORUM MUSICORUM

Aribo

Musica

Period: 9th-11th

Source: Scriptores ecclesiastici de musica sacra potissimum, 3 vols., ed. Martin Gerbert (St. Blaise: Typis San-Blasianis, 1784; reprint ed., Hildesheim: Olms, 1963), 2:197–230.

Electronic version prepared by Sean Ferguson E, Charles Atkinson C, and Thomas J. Mathiesen A for the Thesaurus Musicarum Latinarum, 1993.

Concordances
Lexicon musicum Latinum:
Aribo: De musica
ARIBO
RISM:
A-SF Cod. XI 35, 1r-v (Extraits)
A-Ssp Cod. a. V. 2, 114v-145r
A-Wn Cod. 787, 57v-59v, 70v (Extraits)
B-Br 10162/6, 81-84v (93-96v), 96r-v (108r-v) (Extraits)
D-DS 1988, 170v-178, 179 (Extraits)
D-F Fragm. lat. VII 92, (Fragments)
D-Kl 4° Ms. Math. 1, 32v-33 (Extraits)
D-LEu 431, 157-158 (Extraits)
D-Mbs Clm 14663, 15r-v, 28-29 (Extraits)
D-Mbs Clm 14965a, 31-32v (Extraits)
D-Mbs Clm 29770/3, 1-2v (Fragments)
D-W 334 Gud. Lat. 8°, 57-61, 101v, 104r-v, 104v, 109r-v, 109v-110, 127v-129v (Extraits)
NL-Lu B.P.L. 194, 39v-41 (Extraits)
US-R Ms. 92 1200, 11-42
Save the TEI file of this treatise ! You can also download the full TML dataset
Back to the list

[1307]Aribo Scholasticus

Musica Aribonis

Domno suo Ellenhardo praesulum dignissimo in universa morum honestate praeclaro, Aribo, quae praeparavit Deus diligentibus se.

Literarum mearum Pater et Domine venerabilis praesentiae vestra quaeso praesentetur dignatio, donec auribus misericordiae percipiatis, quid meus stilus pannosus videlicet referat legatus. Qui licet veste nuptiali non intret, prius tamen, deprecor iterum atque iterum, non abhorreatur, quam suam legationem repraesentet.

Cum summae capacitatis in musicae monochordique sitis regulis ut cantilenarum vestrarum observata diligentia affatim vobis perhibent testimonia; praesumpsi vos eligere in judicem Palemonem, ad cujusdam theorematis, id est, speculationis perceptionem. Post seriarum rerum laboriosam intensionem, in istis aliquando quasi ludi blandientem habeatis remissionem,

De quadripartita modernorum figura.

Est quaedam quadripartita figura modernis adeo venerabilis, ut paucissima sine ea sint monochorda. Quae ita construitur, ut una series primi insimul et secundi toni mensuram contineat, secunda tertii et quarti, tertia quinti et sexti, quarta septimi et octavi. Cujus dispositio non ultimae famulatur commoditati. Nam sicut post abecedarii indiscretam generalemque seriem specialiter erant coadunandae vocales, semivocales, mutae; ita post naturalem monochordi permixtionem specialius erant tropi cum suis subjugalibus discernendi, sicut etiam [1308]elementa lucidius apparuerunt discreta relicto sinu primitivae confusionis. Dispositis separatim tropis evidentius intuemur, qualiter protus cum suo subjugali constet prima gravium, in A. prima finalium in D. Distinctius quoque videmus, quomodo Deuterus cum suo plaga construatur secunda gravium, secunda finalium, secunda superiorum, secunda excellentium, in B. E. [sqb]. e. Quomodo tritus cum plagali constituatur omnibus tertiis, in C. F. c. f. Qualiter tetrardus sibique plaga subjunctus disponantur ex omnibus quartis, quarta gravium, in D. quae est duplicis naturae: quia sicut est quarta gravium, ita est prima finalium. Quae omnia lucebunt in sequentibus, cum de troporum tetrachordorum principalium chordarum natura disseremus abundantius, quia praesens tractatus principaliter est de quadripartita figura praetitulandus.

De vitio quadripartitae.

Est tamen aliquid in eadem figura, quod mihi, ut minus sapiens dico non videtur usque ad fundum penitus esse limpidum.

Adtentum facit praesulem.

Huc pater auriculas converte benignius ambas. Has praesul nugas meditans sis totus in illis.

Homines reprehendere degenerantes.

Solent homines admodum improbare, cum vident aliquem de parentum virtute degenerare. Scimus autem et istam et omnem musicam figuram nativitatis suae primordium sumpsisse de primitiva regularis monochordi dispositione. Cum autem hic videamus [1309]collecta, quae ibi sunt dispersa, hic dispersa, quae ibi sunt collecta nonne ista figura degenerat a sua genitrice, monochordi videlicet mensura?

De perversa tetrachordorum collectione.

In ista figura collectae sunt in unum locum omnes graves, in unum locum omnes finales, similiter in unum omnes superiores, omnes etiam excellentes, quod penitus non concedit monochordi natura, quae cuilibet tetrachordorum quatuor diversa partitur loca.

De perversa diezeuxi, id est disjunctione.

In ista figura disjunctae sunt quarta gravium, prima finalium, quarta superiorum, prima excellentium, quae in monochordi naturali structura unum et eundem obtinet locum, utpote in una et eadem littera.

De acumine non naturali proti, et gravitate tetrardi non competenti.

In hac eadem quadripartita figura protus est acutissimus, tetrardus gravissimus, quod quam contrarium sit naturae monochordi potest quivis etiam mediocriter his imbutus facillime contemplari.

De dictatoris admiratione.

Haec cum diutina mecum admiratione revolverem, et si quid naturalius occurreret indagarem, inveni capream matri simillimam, quae habet in uno loco quartam gravium, primam finalium, quartam superiorum, primam excellentium Quae habet in IV. locis diversis, graves, finales, superiores. Quae habet protum gravissimum, tetrardum acutissimum, ut naturam quam in principali genitricis gremio possideant, in filiae mansiunculis non amittant.

De miniatis tetrachordorum lineis.

Quatuor obliquae lineae quatuor tetrachordis in gravium, finalium, superiorum, excellentium, minio superinductae quadripartitam nostri tropici theorematis ita penetrant latitudinem, ut non solum demonstrent unamquamque gravium, finalium, superiorum, excellentium, in sui tropi intervallo, sed etiam in vero et naturali loco, secundum protoplastae conditionis, quae est in monochordo, testimonium.

Quid bene quid male quadripartita explicet.

Quadripartita modernorum figura bene exprimit unamquamque principalium literarum seu chordarum suo tropo contraditam. Sed in hoc delinquit, quod eas in alio loco, quam monochordum velit, constituit divisiones troporum. Quod minus est bene condit gravitatis acuminisque legem, quod majus est non caute distribuit. Sed gratia lausque sit Patri luminum, a quo est omne datum optimum et omne donum perfectum, nostra imo sua ut dicamus cum psalmista, Non nobis, Domine, non nobis, sed nomini tuo da gloriam et bene divisiones troporum constituit, et naturale secundum monochordum gravitatis et acuminis eorum differentiam evidenter proponit.

[1310]De naturali capreae veritate et ejusdem mensurae magna facilitate.

Haec cum tantam habeat naturae veritatem secundum antiquissimam monochordi nativitatem, potest eam et hoc commendare uberius, quod simplex monochordi mensura fiat hac parum celerius. Omnis tonus, omne semitonium, omne etiam synemmenon, omnis denique IV. troporum mensura est aequissime sibimet opposita; sed illius, quae mihi causa fuit hujus, tanta est in metiendo difficultas, tam inextricabilis perplexio, ut admodum dura sit ejusdem textura.

Quare caprea tali nomine censeatur, et quid praesuli offeratur.

Nostri theorematis novitatem propter ejus mensurae celeritatem nuncupavi capream: et quia velocius occurrebat cum venabar eam, voluntas enim Dei fuit ut cito occurreret mihi quod volebam, eandem pater venerande capream vobis offero degustandam cordis palato, ut si quid vobis in ea sapiat, benedicat mihi anima vestra.

Quae sit in caprea commoditas:

Habetis in ea planam mensurandi facilitatem, naturae non redarguendam veritatem, quia omnia monochordi repraesentat legitima sicut decet. Nam de primitivo monochordo derivativam aliter quam monochordum velit componere figuram, hoc est juxta pedem dextrum calceum formare sinistrum. Quod quomodo theoremate in nostro sit devitatum, vestro penitus sit judicio reservatum.

Quae causa sit contrarietatis inter monochordum et quadripartitam figuram modernorum.

Causam autem contrarietatis inter illam quam moderni diligunt figuram et monochordum, arbitror esse imo scio, quod dispositiones troporum ita varie incipiunt, ut I II. tono, II. III. tono, III. IV. semitonio praecedat cum potius in illis procurari deberet, quatenus primae dispositionis gravis, id est A secundae dispositionis gravem in C. semitonio praeiret: tertiae dispositionis gravis idipsum scilicet C. IV dispositionis gravem in D. tono rursus praeveniret: quod facillimum esset si ab uno principio ipsas mensurarum integritates inchoarent, aut a gravibus incipientes dictam diversitatem inceptionis observarent. Sed haec hactenus de caprea: Qua in vestrae gratiae scrutinio derelicta, tendimus ad alia.

De hoc quod monochordum nec in disjuncta nec in conjuncta dividitur.

Monochordum una diapason non esse contentum triplex esse causa creditur. Una quod simplicioribus curtum videretur, qui irreflexibili voce ad organalem ignorant reverti gravitatem. Sicut equus indocilis rigidaeque cervicis non potest in arcto circinari clipeo. Secunda quod vox acutior mulcet aures gratiosius sicut etiam gracile corpus blanditur oculis jocundius. Tertia quod ipsa naturalis chordae ac vocis possibilitas ulteriores spontanea [1311]petit metas. Sicut nonnumquam in amaena loca voluntate procedimus non necessitate.

Cur diapason tres non sint in monochordo.

Tribus diapason protensum esse monochordum non patitur altissimae fidis sonus gracillimus, nulli subteriorum consonus. Sicut enim pueri tenellae vocis in moderato acumine cantilenas edunt adeo inconsonas, ut easdem vir non intelligat more clangentis barrae et recinentis cicadae. Est modus in rebus sunt certi denique fines, ultra quos citraque nequit consistere verum.

Cur in tetrachorda dividatur.

Divisum esse monochordum in tetrachorda potius quam aut in dichorda vel trichorda, seu pentachorda, haec est ratio, quod post diapason in nullo tanta est, ut in tetrachordis similitudo. Si enim in dichorda facta fuisset divisio, primum occurreret dissimilitudo, quia post tonum, qui est ab A. in B. sequitur semitonium, Si autem in trichorda, itidem diversitas semitam obsideret. Nam post semiditonum, qui est ab A. in C. sequeretur ditonus a C. in E. At si divisio fuisset per pentachorda eadem dissimilitudinis obviaret importunitas, quoniam quidem ab A. in E. est diapente, et ibi sequitur semitonium faciens dissimilitudinem.

Tetrachorda quaedam esse primae quaedam secundae similitudinis.

Tetrachordorum ergo quaedam primae, quaedam similitudinis sunt secundae. Primae gravium, finalium, superiorum, excellentium, quia plena similitudine et intenduntur et remittuntur tono, semitonio, tono. Quaedam sunt similitudinis secundae, hyperboleon, diezeugmenon, meson, hypaton: quae quamvis invicem comparata nihil differant intensa et remissa; quia unumquodque illorum intenditur semitonio, et ditono, remittitur autem ditono et semitonio: ipsa tamen intensio et remissio dissimilis est. Quae in prioribus est simillima, quia sicut tono, semitonio, tono, intenduntur, ita et remittuntur.

De similitudine Neumarum,

Similitudo tetrachordorum similitudini servit neumarum: quia eadem neuma, quae intenditur ab A. in D. intenditur a D. in G. quae remittitur a G. in D. remittitur etiam a D. in A sic etiam in caeteris, ut facillime potest perpendere quivis.

De hoc quod Monochordum nec in disjuncta, nec in conjuncta dividitur.

Monochordum non esse divisum vel in penitus conjuncta vel in penitus disjuncta tetrachorda, haec est ratio: quod praedicta tunc cessaret similitudo. Si enim inciperet tetrachordum superiorum in G. ubi desinit finalium, similitudo deficeret: quia tetrachordum superiorum intenderetur ditono et semitonio, cum priora tono, semitonio, tono. Item diversitas occurret si penitus disjuncta fuissent tetrachorda: quae omnia quia satis sunt manifesta, non est opus dicere plenius.

[1312]De diezeugmenon et synemmenon.

Priori patet ratione quod tetrachorda diezeugmenon et synemmenon sint necessaria. Si enim aut conjunctio aut disjunctio tetrachordorum esset penitus, et similitudo periret, et creber in cantu defectus occurreret,

De hoc quaelibet chorda superius et inferius quartam et quintam velint habere propter diatessaron et diapente quae multum dominantur in cantu.

Propter diatessaron et diapente, quae in cantilenis pollent praecipue, desiderat unaquaeque chorda vel littera quartam quintamque supra vel infra habere. Quapropter F. et f. admodum indigent synemmenon, ut gravis supra quartam, acuta infra habeat quintam ad se resultantem per diapente.

De communione Tetrachordorum.

Eadem intensio et remissio omnibus est illis tetrachordis, quae ascendunt, id est gravium, finalium, superiorum, excellentium. Omnibus autem descendentibus id est hyperboleon, diezeugmenon, meson, hypaton eadem est intensio eadem quoque remissio, quamvis ascensus sit dissimilis et descensus, quia ascensus est semitonio, ditono, descensus ditono, semitonio,

De differentia Tetrachordorum ascendentium et descendentium.

Qualiter autem eadem differant tetrachorda, si vacat, et placiti rationem admittitis, edam. Differunt nomine, quod est planum differunt qualitate, quod debet explanari, quia latine nuncupata potius sunt constitutiva specierum trium symphonarium, diatessaron, diapente diapason, quam graece vocata. Differunt specie, quia haec in medio illa semitonium habent in extremo.

De quibus litteris et chordis unumquodque tetrachordum consistat.

Tetrachordum gravium secundum Guidonem constat A.B.C.D. quod idem juxta Boetium est proslambanomenos, hypate hypaton, parypate hypaton, lichanos hypaton. Tetrachordum finalium est Guidonice D E. F. G. hoc ipsum est in Boetio lichanos hypaton, hypate meson, parypate meson, lichanos meson Tetrachordum superiorum juxta modernos est a. [sqb] c. d. Idem est Boetii mese, paramese, trite diezeugmenon, paranete diezeugmenon. Tetrachordum excellentium est d. e. f g. secundum Guidonem, juxta Boetium autem paranete diezeugmenon, nete diezeugmenon, trite hyperboleon, paranete hyperboleon.

Qualiter tetrachorda species operentur.

Non disputemus qualiter ista tetrachorda operentur constitutionem specierum diatessaron et diapente Tetrachordum gravium tetrachordo finalium collatum omnes diatessaron species quae IIII sunt, perficit hoc modo. Prima gravium, primae juncta finalium, parturit primam diatessaron speciem. Eodem modo sunt vice parentum, III, gravium III, [1313]finalium, IIII. gravium .IIII. finalium, tertiae et quartae speciei diatessaron. Eadem diatessaron specierum nativitas est in copulatione superiorum et excellentium, et tam naturali ordine idem, ut de primis I II. de secundis III et IIII de tertiis, ac quartis procedat: et hoc necessario, quia superiorum et excellentium collatio nihil est aliud quam collationis gravium et finalium repetitio. Unde est necesse, ut quicquid inter graves et finales, idipsum fiat inter superiores et excellentes: quia sicut eaedem superiores quae graves, ita sunt eaedem excellentes, quae finales.

Quod diatessaron et diapente inter diversa constent tetrachorda.

Omnes ergo IIII. diapente species ita inter finales constant et superiores, sicut omnes diatessaron, aut inter graves et finales, aut inter superiores consistunt et excellentes, eodemque ordine disponentis naturae ut I. de primis, et quaelibet species de sui nominis constet chordis ac litteris.

Quod in locis diatessaron diapente non inveniatur, nec diatessaron in sedibus diapente.

Admodum naturale esse generationem specierum inter graves ac finales, et inter superiores ac excellentes; diapente autem specierum inter finales et superiores naturalem esse ortum, ex hoc potest perpendi: quod nec naturaliter inter graves et finales, aut superiores ex excellentes diapente procedunt species, ubi diatessaron naturales habent sedes, nec inter finales et superiores inveniuntur naturales diatessaron sedes, sicut diapente species sunt inibi naturaliter procedentes. Naturales dico species ut prius dixi de sui nominis litteris consistentes, ut I. de primis, et caetera.

De formalibus Speciebus.

De formalibus tempestivum est dicere speciebus. Formales sunt dicendae quae formam habent non naturam, sicut est a D. in G. forma est primae speciei diatessaron habens semitonium in medio. Sed quia non inter duas constat primas, sed inter primam et quartam, dicenda est prima formalis, non prima naturalis Naturalis autem est prima, quae non solum in medio habet semitonium sed inter duas primas consistit, ut illa quae est inter A. et D. quarum altera prima est gravium, altera finalium. Sic species diapente inter A. et E. prima est formalis non naturalis, quia licet ut prima naturalis scandat tono, semitonio, tono, et tono non tamen inter duas primas, sed inter primam constat ac secundam, sicut illa quae est inter D finalem et superiorem,

Quod principales chordae dicantur quae constitutivae sunt troporum.

Principales chordae dicuntur quae in troporum dispositionibus principatum sortiuntur, sicut in autento proto principales sunt istae: prima finalium, prima superiorum, prima excellentium. Finalis est merito principalis in primis: quia secundum convenientiam, quam ipsa praedocet, cantum incipimus, et usque ad finem procedere non possumus, ostendit illum esse aut vitiosum, aut juxta alium modum [1314]gubernandum. Quidam cantant illam antiphonam Alliga Domine in vinculis, secum finalis convenientiam incipientes eam in G sed quia defectus occurrit chordarum ut cantari non possit, cogitemus eam aut secundum alium modum jubilandam, aut penitus esse mendosam Sed falsam esse dicere prius non debemus, quam secundum omnium finalium convenientiam incipientes exploremus, si in ullo modorum inoffensam reperiamus eam: sicut istam juxta primi finalis convenientiam inchoantes in F. sine scandalo percantabimus. Est quoque principalis ob hoc dicenda, quod initium cantus principiumque non nunquam procedit ex illa, ut. Ecce nomen Domini. Ecce in nubibus coeli. Ecce veniet Deus et homo, leva Jerusalem, et alia innumerabilia, quae ad reperiendum sunt planissima. Est principalis quia distinctionum interdum principia, interdum fines conversantur in illa, aut aliqua musica proportione distant ab illa, id est aut tono vel semitonio, sive semiditono, seu ditono, aut diatessaron, diapenteve. Principalis est merito, cum omnis cantilenae finis et requies sit in ejus hospicio.

Superiores chordae ideo principalitatis dignantur nomine quia principales autentorum partes diapente videlicet ac diatessaron medietatis vinculo copulant: et quod ad eas nonnumquam pertingant neumae principales, principia dico distinctionum ac fines, ac tonorum differentiae. Excellentes jure sunt principales, quae ita dominantur autentis, ut in ipsis sit ascensionis eorum finis.

Quae chordae sint principales in cantibus plagalibus.

In plagalibus quoque eadem ratione dicuntur principales graves, finales, superiores. Quapropter non difficile inde huc similitudinem transferre.

Quod principalitas chordarum discernenda sit.

Principalitas chordarum accipi discretive debet, non ubivis illa principalitas sed in sua specie consideretur. Sicut prima gravium, prima finalium, prima superiorum principales sunt in prima specie plagalium cantuum, id est in secundo tono, quae principaliter ejusdem sunt constitutivae. Principaliter dico, quia aliae chordae cooperantur, iste ut praedictum est principantur, sicut in aulae constructione principales partes sunt columnae Principales quoque sunt in secunda specie plagalium, id est in IIII. tono II gravium II. finalium II. superiorum, quae principaliter illum constituunt. Sic constituvae sunt III. et IIII. gravium, finalium, superiorum tertiae et quartae speciei plagalium troporum, id est sexti et octavi toni.

De autenticis protis.

Prima finalium, prima superiorum, secunda excellentium sunt principales in prima specie autentorum cantuum, id est in primo tono quem principaliter constituunt: secunda finalium, secunda superiorum, secunda excellentium, principales sunt in secunda autentica specie diapason, id est in tertio tono cujus principaliter sunt constitutivae: sic de tertiis tertia autentica diapason constituitur, quarta de quartis.

[1315]Quod principium similitudinis est in illis.

Principales quoque dicuntur chordae, quia principium sunt ejusdem habitudinis Habitudinem autem appello, ascensionis vel descensionis, aut utriusque similitudinem, qualis est intensio ab A. in D. talis est a D. in G. et qualis est remissio a G. in D. talis est a D, in A. quia talis est concordia non solum quartis, sed quintis infra et supra, ut media alterius elevationem, alteriusque sumat depositionem. Et si ad quartam supra confertur cum elevatione ad quintam superius respondet cum depositione; ac econtra cum quarta inferiori per remissionem, cum quinta concordat per intensionem, excepto gravi deutero et superiori, qui infra non inveniet diatessaron, supra se vero caret diapente quamvis V. sint chordae. Et hinc monemur ut caute diffiniamus symphonias. Si aliquo me interrogante, quid est diatessaron, vel diapente, respondebo, quatuor chordae, quinque chordae, non caute dixero, cum quatuor sint chordae A [sqb]. b. c. et tamen non contineant nisi semiditonum. Cum quinque chordae sint. B C. D. E. F. et non cohibeant nisi diatessaron et semitonium. Idcirco dicamus, diatessaron est semitonium cum duobus tonis in nullo participantibus Diapente est semitonium cum tribus tonis in nullo participantibus. Hoc dico propterea, quia tonus, qui est ab a in [sqb]. cum illo tono qui est a b. in c. participat spacium, quod est a b in [sqb] quod est majus toni spacium, quod apotome dicitur, quia aliter poterit probari et semitonium esse diatessaron, et diatessaron esse diapente.

De similitudine divitum et pauperum ad tropos utrosque.

Concordant discordantque autenti et plagales sicut divites et pauperes. quia licet hi in alto hi in humili degant loco, quamvis isti ambullentur id tragoedia, illi mussitent in comoedia, unum tamen et aequalem exspectant obitum et finem, ita quamvis ascendant descendantque diverse, eosdem tamen finales sortiuntur autenti et plagales.

De similitudine virilis femineique chori ad autentos et plagas.

Concordant discordantque autenti cum plagis quomodo si procederent de quatuor thalamis totidem nuptae modestae cum suis sponsis, copularentque duos chorearum circulos, ut ipsi thalami matronali choro essent centra: id est medietates virilibus choris terminales, ut in hoc etiam evangelistarum exprimerentur volumina: de quibus pronunciat propheticus Ezechielis, spiritus, quasi sit rota in medio rotae: quia sicut evangelistarum opera concordant discordantque, ita autenti cum plagis. Nam quinque chordas habent communiter, tres autem singulariter: ut duo circuli ita sibimet sint implicati, ut utriusque extremitas centrum, id est medietatem alterius persecet, habent medium spatium [1316]commune, altrinsecus scilicet spatium situm sine participatione.

De differentia autentorum et plagarum juxta Horatium Flaccum.

Disserunt quoque autenti et plagae instar Horatianae sententiae: ut

Festis matrona moveri jussa diebus,

Intererit satyris paulum pudibunda protervis.

Non est enim suum matronalis incessus saltantes satyros imitetur ut Alphesibeus, sicut cantus plagalis. Haec principia, haec fines distinctionum tendit ad quintam, cum etiam raro mittat ad quartam.

Vide figuram A.

Iterum differentia tetrachordorum.

Tetrachordorum quoque differentia est nonnulla, quia tetrachordorum gravium et superiorum claves sunt plagalium, tetrachordum finalium et excellentium claves sunt autentorum. Et medietatis vicem obtinent finales et superiores: finales plagalium, superiores autenticorum diatessaron et diapente convincientes, ex hisque diapason componentes.

Quomodo tetrachordum gravium mystice pertineat ad Matthaeum et ad humanitatem Christi.

Tetrachordum gravium typice congruit Salvatoris humanitati quam Matthaeus describit, in qua Christus gravia quaeque sustinuit, esuriendo sub infructuosa ficulnea, sitiendo et lassescendo super puteum, vulpibus pauperior ac volucribus foveas ac nidos habentibus, cum non haberet, ubi caput suum reclinaret.

Quomodo tetrachordum finalium Salvatoris passioni congruat et morti.

Tetrachordum finalium vitalem Christi mortem significat: cum non solum ipse ad tempus vitam finivit, sed etiam ad finem tetenderunt templi velum soliditas petrarum, solis claritas, terrae stabilitas.

Qomodo tetrachordum superiorum Christi significet resurrectionem.

Tetrachordum superiorum Christi gloriosam designat resurrectionem: in qua ad hujus vitae superiora remeavit, nobisque vitae supernae hereditatem delegavit.

Quomodo tetrachordum excellentium Christi significet ascensionem.

Tetrachordum excellentium typice jubilat excellentiam Ascensionis Christi, in qua ascendit Deus in jubilatione et Dominus in voce tubae ostendens se excellentissimum esse.

Quod duo tetrachorda ad humilitatem, duo ad Christi pertineant celsitudinem.

Quorum tetrachordorum, duo id est gravium et finalium sicut sunt humilia, ita humilitatem Christi quae fuit in humanitate et passione designant: duo excelsa id est superiorum et excellentium celsitudinem Salvatoris, quae in resurrectione et ascensione patuit, declarant.

[1317]Item de discordia tetrachordorum, et quod quaedam incipiant, quaedam species finiant.

Discordant tetrachorda quoniam quodam est specierum diatessaron et diapente inceptivum non finitivum, ut gravium; quoddam diffinitivum non inceptivum, ut excellentium. Quaedam et inchoativa et determinantia, ut finialium et superiorum: quia finales determinant species diatessaron, incipiunt species diapente; superiores finiunt species diapente; incipiunt species diatessaron Et hoc ita naturali ordine, ut sive incipiat seu terminat, sive faciat utrumque inter primas prima, secundas secunda, tertias tertia, et inter quartas quarta sit species vel diatessaron seu diapente.

Quomodo graves sui nominis species diatessaron incipiant.

Prima gravium incipit primam speciem diatessaron, secunda secundam, tertia tertiam, quarta gravium id est D. quae biformis est, quartam speciem diatessaron incipit quae et finit primam, secundum quod prima finalis est

Quomodo finales fiant et incipiant species.

Prima finalis idem videlicet D. finit primam diatessaron, sed incipit primam diapente speciem, E. secunda finalium, secundam diatessaron, et diapente speciem finit et incipit, F. tertia finalium tertiam utriusque speciem finit et incipit, G. quarta finalium quartam finit, et quartam incipit.

Quod contra legem finalium, superiores finiant species et incipiant.

E contrario prima superiorum id est .A. primam finit speciem diapente, incipit primam diatessaron, quam finit prima excellentium.

Oppositio Tetrachordi.

Opposita sunt tetrachorda finalium et excellentium tetrachordo gravium et superiorum. Nam ista omnes diatessaron incipiunt, illa finiunt, sed etiam media opponuntur, id est finalium et superiorum, quia omnes diapente species incipiunt finales, finiunt superiores. Opposita quoque sunt ultima sicut media tetrachorda: quia gravium solummodo omnes diatessaron species incipit, excellentium easdem tantum finit. Finalium omnes diapente species incipit, superiorum finit. Finalium omnes diatessaron species finit, superiorum incipit.

Quod tria sint in inchoando, tria in determinando, duo in utroque.

Tria sunt in inchoando similia, gravium, finalium, superiorum, tria in determinando, finalium, superiorum et excellentium; duo in utroque, finalium, superiorum singulariter ad incipiendum tantum gravium, ad finiendum dumtaxat excellentium.

Quod opposito quoque sit in speciebus diatessaron et diapente.

Ultimae quoque species et mediae diatessaron et diapente sibimet sunt oppositae. Nam intensio [1318]primae remissio est quartae, secundae ascensus est tertiae descensus. Prima species diatessaron tono, semitonio, tono intenditur ab A. in D. Quarta eodem modo remittitur a G. in D. secunda intenditur a B. in E. semitonio, ditono, tertia remittitur ab F. in C. semitonio, ditono.

De oppositis diapente speciebus.

Prima species diapente ascendit tono, semitonio, ditono a D. finali in a superius Quarta descendit tono, semitonio, ditono a D. superiori in G. finalem. Secunda suspenditur ab E finali in [sqb] b. superius, semitonio tritono. Tertia deponitur semitonio, tritono a c. superiori in F. finalem.

Quod oppositio specierum ad similitudinem fiat metricorum pedum.

Species prima diatessaron constat ut amphymacrus ex longa et brevi, et longa, id est ex tono, semitonio, tono: secunda intensa, ut bachius ex brevi et duabus longis. Remissa ut antibachius ex duabus longis et brevi. Tertia species diatessaron constat secundum intensionem sicut secunda, juxta remissionem, ut antibachius, secundum remissionem ut secunda, juxta intentionem sicut bachius. Quarta rursus ut insulae.

De speciebus diapente ad pedum similitudinem se habentibus.

Diapente prima species constat ex trochaeo et spondeo suspensa, ut liberant. Deposita constat ex spondeo et iambo ut convenerant, secunda intensa ex epitrito primo ut Sacerdotes! Remissa ex spondeo et trocheo, ut Sacramenta Tertia ascendens ut secunda descendens ex spondeo et trocheo. Descendens ut illa ascendens ex epitrito primo. Quarta ascendens ex spondeo et iambo, ut prima descendit, descendens ut prima ascendens ex trocheo et spondeo.

De speciebus diapason.

Prima species diapason constat ex prima diatessaron et diapente specie, secunda de secundis, tertia de tertiis, quarta de quartis. Et in his speciebus diatessaron, diapente, diapason naturalem merito miramur ordinem, quia omnes in eamdem desinunt, ex qua desinunt, et hae sunt sui nominis.

De quatuor speciebus diatessaron.

Diatessaron species prima incipit a prima gravium A, desinit in prima finalium D. Secunda species diatessaron incipit a secunda gravium. B. desinit in secunda finalium E. Tertia species diatessaron incipit a tertia gravium C desinit in tertia finalium F. Quarta species diatessaron incipit et desinit a quarta et in quarta D. G.

Quod similiter incipiant et finiant omnes diapente species.

Eodem modo species diapente inchoant et expliciunt. Prima a prima finalium et in primam superiorum D. A. secunda a secunda et in secundam E. [sqb] Tertia a tertiis, quarta constat a quartis E. c. G.d.

[1319]Quod ad eumdem modum species diapason incipiant et finiant omnes.

Prima species diapason constat a prima gravium, prima finalium, prima superiorum: ita ut gravis et superior legitimi sint ascensus, descensusque claves, finalis medium ejusdem diapason vinculum, in qua est D commissura diatessaron et diapente. Sic secunda species diapason, secunda gravium, secunda superiorum clauditur B. [sqb] et secunda finalium E. vinculatur. Tertia tertiis, quarta quartis et clauditur, et dimidiatur C. F. c. D. G. d.

Quod eodem modo ab aliis speciebus consistant autenticae species sicut a praelibatis speciebus subjugales.

Sicut istae quatuor species diapason, id est quatuor plagarum constant gravibus et superioribus, dimidiantur autem finalibus, prima primis secunda secundis, tertia tertiis, quarta quartis; sic quatuor sequentes ad autenticos pertinentes clauduntur finalibus et excellentibus dimidiantur autem vel vinculantur superioribus, prima primis, secunda secundis, tertia tertiis, quarta quartis ut optime conservatus ordo naturalis Dei voluntate quae est rerum natura conlaudet, illuminans omnem hominem, quod in natura latuit venatrices mentes investigare concessit.

Utrum sint VII, vel octo discrimina vocum, cum synemmenon videatur octavum.

Synemmenon octavum vocis discrimen non facit, quia nunquam b molle atque quadratum in unam conveniunt neumam. Cum omne discrimen vocis fiat aut tono vel semitonio, seu ex his compositis consonantiis, et inter b. et [sqb] nulla sit consonantia, patet profecto quod illae duae litterae sint pro uno discrimine. Illarum litterarum neumae nunquam in unum conveniunt, sicut libra et aries pariter non videntur. Consurgens aries libram, libra vellera mergit.

Quod divisio monochordi fiat aut per quantitatem aut per qualitatem.

Monochordi divisio fit bipartito. Cum enim dico totum monochordum in duas dividi diapason vel duobus passibus fieri diapason, tribus diapente, quatuor diatessaron, tonum novem quantitatis est et numeri ad mensuram pertinens monochordi. Cum autem tetrachorda quaedam dico intendit per tonum, semitonium, tonum, quaedam vero remitti per ditonum et semitonium, designo qualitatem ad melodiam pertinentem, quasi dicerem: Cum tetrachordum gravium, finalium, superiorum, excellentium, intendatur et remittatur per tonum, semitonium, tonum, potes quamlibet neumam susum iusumque resultare: sic et de illis quae descendunt perpendas tetrachordis.

Utrum idem modus qui dicitur Dorius dicendus sit hypomixolidius propter D. d. quod est biforme.

Antiquitus erant quatuor tantum naturales tropi. [1320]Quare autem quatuor naturales dicam tropos, quaestionis scrutinio dignum est. Cum quis autenticus adjuncto sibi suo subjugali constet prima gravium, prima finalium, prima superiorum, prima excellentium, quid obstat, quin sit unus modus, cum de unis ut ita dicam fiat chordis, videlicet omnibus primis; sed secundum placitum facti sunt de quatuor octo, cogente tamen ratione. Cum quilibet cantus legitime vagari per XI. chordas potuisset, qui discursus cuilibet autento cum suo plaga composito deputatur, evenit saepe propter cantus prolixitatem, ut aliquis versus, seu brevis psalmus adjunctus ab illo discordaret, cum omnem suum ascensum descensumve non potuisset implere: tandem est excogitatum, ut quivis IV. troporum in duos divideretur, quorum uterque integra tantum diapason esset contentus, ut quilibet sibi subjunctum suum posset aequiparare discursum, sicut nonnunquam propter infirmiorem comitis caballum vicinius petimus diversorium.

De hoc quod quadripartita figura et caprea sint imitatrices antiquitatis troporum.

Quatuor troporum naturalis antiquitas in quadripartita modernorum figura et in nostra patet caprea. Divisionem autem eorum nostra circularis repraesentat figura, quam de virilibus femineisque choreis compinximus.

De hoc quod quatuor tropi dividuntur in octo.

Majores nostri perpendentes quemlibet tropum adhuc indivisum quatuor principalibus ita chordis consistere, ut altrinsecus collatae duas diapason species possent conficere, diviserunt eos in autentos et plagas, autentos vocantes auctorales et digniores, plagas autem laterales et subjectos. Quod nomen subjectionis etiam graeca sua testantur vocabula, quia primus tonus appellatur graece Dorius, secundus vocatur hypodorius, id est, subjugalis Dorii: ita quartus et sextus hypophrygius et hypolidius dicitur.

Diviserunt protum primam finalium cum altrinsecus posita cum prima excellentium conjungentes, et autentum primum videlicet tonum statuentes Primam vero gravium cum altrinsecus sita prima superiorum conferentes, et primum plagam, tonum scilicet secundum, componentes. In deutero secundam finalium cum altrinsecus locata secunda excellentium junxerunt, et secundum autentum, tertium quippe tonum, composuerunt: secundum gravium cum secunda junxerant superiorum, et secundum subjugalem, quartum nempe tonum, statuerunt In trito tertiam finalium cum altrinsecus posita tertia excellentium, et tertium autentum, quintum nempe tonum, confecerant. Similiter tertiam gravium cum altrinsecus scripta tertia superiorum conjunxerunt, et tertium plagalem, id est sextum tonum, posuerunt. Eodem modo in tetrardo quartam finalium id est G. cum altrinsecus statuta quarta excellentium contulerunt, quartum autentum, id est septimum tonum, composuerunt. Quartam gravium id est, D. [1321]cum altrinsecus notata quarta superiorum videlicet d. junxerunt, et quartum subjugalem, octavum quippe tonum, constituere voluerunt. Sed quia eundem modum prius in proto autenticam speciem diapason, id est, tonum primum fecerunt, recusaverunt illum in tetrardo vel habere vel appellare plagalem, non pervidentes quod D. d, biformes sint litterae potentes naturaliter tam plagalem quam autenticam constituere speciem. Unde ille biformis modus propter antiquorum non acquisivit suae subjugali naturae debitum nomen, ut diceretur hypomixolidius, id est, mixolidii septimi videlicet toni subjectus.

Quomodo juniores ejusdem modi geminam intellexerint vim atque naturam.

Solertius autem praelibati modi naturam et efficaciam juniores intuentes plagales sibi formulas vel differentias attribuerunt. Octo sunt beatitudines. Seculorum amen. In illa die et caeteras. Seculorum amen. Dum medium silentium.

Quod sanctus Gregorius ejusdem modi duplicem perspexerit operationem.

Patet admodum, beatum Gregorium totius pene ecclesiastici cantus auctorem duplicem ejus cognovisse operationem, quia in autento non potius autenticas, quam plagales diligit odas. Cum autem aureo ipsius et sancti Ambrosii plagalis esse comprobetur testimonio, quid nobis est dubitandum, quin, ut est, dicamus illum non solum dorium sed hypomixolidium?

Quod idem modus habeat materiam plagalis.

Cum idem modus habeat plagalis materiam, plagalem ex hac componamus formam, aut si possimus, naturaliter negemus D. non esse quartam gravium, d. non esse quartam superiorum, aut esse concedamus. Si negabimus, ab adversario subsequente constringemur argumentatione. Omnis chorda, quae duorum synemmesis, id est conjunctio, est tetrachordorum, alterius est finis, alteriusque est principium; sed D. synemmesis est tetrachordi gravium et finalium. Si finis est tetrachordi, quarta est chorda, sed finis est, ergo quarta: quia omnis tetrachordi finalis quarta est. Argumentum a genere. Maxima propositio, quod in omnibus valet, valet et in uno, ab argumento praecedenti vel iambicum, oppositus scandat per ditonum, qui duo modi diapente componunt. Posset secundum judicium auditus prior per ditonum appositus per diatessaron surgere: sed principium praecedentis finisque sequentis nulla conjungitur proportione. Posset e contrario prior per ditonum appositus scandere per semiditonum proportionaliter, quippe cum in diapente ambo concludantur, sed integrae non est euphoniae.

De Interposito.

Interpositus necessario fiet intensus et remissus, in diatessaron tono semitoniove; in diapente autem ditono semitonio, tono, semitonio: quia diatessaron [1322]in medio aut tonum habet aut semitonium. Diapente vero vel ditonum, vel semiditonum sive tonum, seu semitonium.

De convenientia motus, qui dicitur commixtus.

Commixtus motus venerabilior est omnibus. Ille autem duabus diapente diatessaronve potest convinculari susum et jusum, et ditono et semitono; sed ita ut semitonus iambicus ascenda, non descendat, nisi si duo semitoni convinculentur: quia tunc uterque semitonus et trochaeicus et iambicus intendentur, remittenturque convenientius.

De distinctionibus cantuum, et cur finales dicantur ac superiores.

Quamvis principia, praesertim tamen fines distinctionum sunt considerandi, qui praecipue debent finales repetere, ut domnus Guido dogmatizat dicens: Item ut ad principalem vocem, id est finalem pene omnes distinctiones currant, hoc tamen rarius invenitur, quam crebrius. Invenitur in hac antiphona Nativitas tua Dei genitrix virgo. Gaudium annuntiavit universo mundo. Ex te enim ortus est sol justitiae Christus Deus noster. Et confundens mortem donavit nobis vitam sempiternam.

Finales voces triplici ex causa nuncupari videntur, et quod finiunt legitimum autentorum ascensum, et quod omnem determinant cantum, et quod in eosdem nonnunquam fines distinctionem perveniunt. Ideo dicimus nonnunquam, quia non semper in illas, sed in superiores et principia distinctionum pertingunt et fines, et in primam sub finalibus in autenticis cantibus, in plagis etiam inferius. Superiores autem dicuntur, vel quia superiores plagalis cantilenae sunt claves, vel quod superius sunt mediatrices autentorum diatessaron et diapente convincientes, ex hisque autenticam diapason componentes: vel quod superiores sunt a finalibus, quam finales a gravibus, aut excellentes a superioribus.

De proti autenti speciebus diapente et diatessaron utilibus melodiam comminiscentibus.

Praemissis modulationi utilitatibus cum domno Guidone nobis communibus, quia sua non solum verba exposuimus, sed etiam commodiores motuum species, quas ipse penitus reticuit, proposuimus, ad singularia dona jubilandi nobis divinitus concessa veniamus.

Solum protum autentum sumamus nobis in exemplum, ut modulandi commoditatem in aliis modis reperire non desperemus, quam in hujus experiamur speciebus.

Protus autentus, id est, primus tonus V species diatessaron includit unam primam formalem, unam secundam formalem, unam tertiam naturalem, unam tertiam formalem, unam primam naturalem. Quarum V unaquaeque tres habet mutationes, saltatricem continuam vel spissam, ternariam. Saltatrix duas ultimas tangit chordas, continua cunctas, ternaria tres. Saltatrix et spissa duplices sunt [1323]intendendo et remittendo. Ternaria quadrupla, utpote duplex intendendo, duplex remittendo, quia quinque species sunt diatessaron, quarum quaelibet duas habet saltatrices, duas continuas. Dicamus quinquies quatuor vel quater V viginti sunt. Quoniam autem ternaria est quadrupla, multiplicemus quatuor per V et item erunt XX quae junctae prioribus XL componunt. In eodem quoque proto IIII sunt species diapente, quarum cum unaquaeque duas habeat saltatrices, duas spissas, tres quaternarias, tres ternarias, multiplicatae per quatuor XL fiunt. Quae totidem prioribus copulatae complent octoginta mutationes absque his quae in eodem tropo fieri possunt, ditono, semiditono, tono, semitonio. Cognito numero principalium mutationum in proto, perpendendum est in primis quia neumae ex praedictis mutationibus natae non sunt omnes in eadem generositate, sed quaedam primae, quaedam secundae dignitatis sunt, et tertiae. Ex his generosiores ad olorinas musarum choreas sunt admittendae, caeterae non Orpheis sed exteris sunt relinquendae. Omnes saltatrices laudabiles, sed tamen nobis generosiores videntur quam Longobardis. Illi enim spissiori, nos rariori cantu delectamur. Prima et secunda et quarta spissa diatessaron species intensa et remissa bene sonat, sed tertia surdius. Ex eodem genere spissitudinis quarta species formalis in diapente, et prima ac quarta naturalis satis sunt euphoniae et intensae et remissae, secunda vero et tertia propter innominati tritoni raucedinem melibeis et ululis delegentur, excepta saltatrice quae in omnibus est aequalis, nisi quod inest differentia gravitatis et acuminis. Ternaria diapente triplex est, et aliquantulae sonoritatis. Ternaria diatessaron duplex est, et minus sonora. Reprobae sunt secundae et tertiae species diapente, excepta saltatrice. Utiles colligamus, ut earum numerum sciamus. Reprobatis de secunda et tertia specie diapente quatuor spissis, sex quaternariis, octo ternariis: de V speciebus diatessaron X ternariis, utpote duabus de unaquaque et insimul collectis XXVIII de LXXX abjiciemus et remanebunt LII habiles cantilenas comminiscentibus et opportunae.

De varia oppositione Neumarum.

Interdum saltatrix contra saltatricem, spissa contra spissam, quaternaria contra quaternariam, et caeterae aequivocales sunt constituendae, interdum variandae, ut spissa contra saltatricem, vel quaternariam vel ternariam opponatur, vel spissa diapente contra diatessaron, ut laudabilis similitudo vel dissimilitudo discernere scientibus commendetur: qui non solum hoc sed neumarum proportionem requirant, ut triplex sit suavitas, una cantionis, quae comprobetur ab auriculis; secunda proportionis vocum, et neumarum ad distinctionum, quae delectatio est rationis; tertia pulchrae similitudinis ac dissimilitudinis sex consonantiarum.

De nobilitate et ignobilitate consonantiarum.

Sex consonantiarum tres nobiles, tres sunt ignobiles. [1324]Nobiles diapente, diatessaron, tonus, quia originem et parentelam suam profiteri possunt: quippe cum haec sesquialterae, haec sesquitertiae, haec sesquioctavae sit proportionis, unde etiam eas credimus esse minus dulcisonas.

De consideratione constitutivarum partium diatessaron et diapente.

Aliquotiens considerationem constitutivarum habeamus partium in diatessaron et diapente, aliquotiens specierum suarum, nonnunquam etiam interpositionis minorum consonantiarum. Constitutivae partes sunt diatessaron tonus et semiditonus, vel ditonus et semitonium. Interdum partes praeponamus, interdum postponamus, et si una vice praeponamus vel postponamus istas, alia vice illas, aliquando quoque cingamus diatessaron partibus, ipsa in medio vice dominae constituta. Constitutivae partes praeponuntur, sequitur ipsa diatessaron in hunc modum. Ecce ego mitto vos sicut. Praeponitur tonus intensus: Ecce; praeponitur semiditonus intensus et remissus: Ego; sequitur diatessaron spissa per remissionem, saltatrix per intensionem: Mitto vos sicut. Ambae partes diatessaron praeponuntur tonus semiditonus, semitonium ditonus sequente diatessaron ut in hac: Rogo ergo te Pater ut. Interdum totum praeponitur partibus dividendum ut haec: Surrexerunt. Haec consideratio non est inter contemnendas, cum in illa dialectica luceat qualitas. Nam partium compositio totum facit, totius resolutio partes ostendit. Eadem observatio debet esse in diapente. Partes ejus sunt tonus, diatessaron, semiditonus, ditonus. Quibus praemissis ipsa sequitur vestigio, ut venientibus sagmis Domini sperantur. Hoc dicimus non ut ita semper inveniatur. Sed ut ita fieri oporteat naturaliter, cum sine partibus totum non esse, nec positis possit abesse.

De Contubernio diatessaron et diapente.

Aliquotiens diatessaron et diapente commilitent, ita ut si altera saltatrix intendatur, altera spissa remittatur, aut si haec quaternaria remittatur, haec ternaria intendatur. Tum diapente sibimet conferatur, ut si haec surgat spissa, illa deponatur saltatrix, vel quaternaria, vel ternaria. Interdum per commixtum motum, quam praelibavimus, sibimet convinculetur. Eodem modo diatessaron: aliae quoque consonantiae aut pariter bis deponantur, vel simul intendantur, seu in commixto concatenentur. Et propter jocunditatem suam species illae gemellae diatessaron et diapente admodum in quibusdam cantilenis suum ostendunt contubernium.

De consideratione proportionum in his speciebus.

In his ergo omnibus considerationem proportionis observemus: ut si diapente saltatrix sit in ista neuma, in hac sit vel tonus vel alia saltatrix: sive sit in diapente, sive in diatessaron, sive in ditono, seu semiditono, ut aequa sit responsio. Aut contra saltatricem ponamus aut spissam diatessaron aut diapente quaternariam, ut dupla fiat proportio. Aut contra saltatricem constituamus ternariam diatessaron [1325]vel diapente, aut ditonum semiditonumve spissum ut sesquialtera fiat responsio, ut sine subtili collationis consideratione nihil temere fiat ignoranterque penes nos, qui histrionibus dulce jubilantibus veram jubilandi naturam comparationem que penitus ignorantibus admodum dissimiles esse debemus. Omnes saltatrices in omnibus consonantiis aequa proportione conferuntur, et cum his tonis ac semitonium. Diapente spissa contra sese aequa conferuntur collatione aut contra saltatricem simul et ternariam, aut contra saltatricem simul et ditonum sive semiditonum spissum: aut contra tonum sive semitonium cum ditono, sive semiditono: aut contra quaternariam et simplicem neumam: aut contra unam simplicem et quatuor repercussas: aut contra tonum sive semitonium, et tres repercussas. Quae consonantiae aequa copulentur proportione, pronum est perpendere. Proinde ad aliarum collationem redeamus. Quaternaria ad ternariam, ditonum, semiditonum, sesquitertia est; ad tonum autem semitoniumve dupla. Ternaria ditonus semiditonus, sesquialteram faciunt proportionem ad tonum semitoniumve.

De multiplicitate specierum.

Duplices sunt saltatrix et spissa, utpote unam intensionem habentes et remissionem. Quaternaria in diatessaron non est, quia non habet nisi quatuor chordas, quae spissam faciunt. Ternaria in diatessaron octupla est, quadrupla intendendo, quadrupla remittendo. Quaternaria in diapente decupla est: quia quinque intenditur, quinque modis remittitur. Jam persolvimus, quae cantilenarum auctoribus non nihil profore credidimus. Vide figuram B.

De Caprea repetitio commendationis.

Capream, domine, quam vobis obtuli, in vestram commendo gratiam, ut ipsa natura vestrae experientiae commendet eam. Evidentem troporum divisionem ostendit, propter quadripartita penes modernos laudem promeruit. Sed si ipsa non naturaliter hoc faciens est gratiosa, caprea, naturaliter idem conficiens non sit exosa. Si quadripartita in unam lineam omnes contra naturam monochordi conferens graves laudetur, nostra caprea in unam juxta monochordi constitutionem colligens easdem non vituperetur. Quadripartita quarta gravium, prima finalium, quod primitiva dispositio renuit, longe divisit, nostra caprea collegit. Si autem illa perversa divisio commendet, istam naturalis collectio non condemnet. Si quadripartita protum acutissimum, tetrardum faciens gravissimum, celeberrima sit omnibus, capream non obscuret penitus, quod utique naturalem gravitatem dedit et acumen. Easdem litteras in nostra caprea contra se esse positas nemo reprehendat. Sed aliter secundum naturam fieri non posse reprehendat, cum A. gravis sit proti, qui secundum monochordum tono differt a gravi [1326]deuteri B. si in depositione deuteri non esset A. contra A quod est in dispositione proti, fieret aut perversa conjunctio, aut perversa disjunctio. Si B. opponetur A. esset perversa conjunctio, quam in quadripartita reprehendo, gravibus duorum modorum in uno convenientibus loco. Si autem gamma deuteri poneretur contra proti A. perversa fieret disjunctio, A. gravem proti, et B. gravem deuteri, ditonio dirimente, penitus id natura monochordi renuente. Quid ulterius procedimus? in quo nostram capream quadripartita praecellat ignoro, nisi in mensurae difficultate, quae si merito laudabilior est facilitate, scio pluribus id admirationem generare. Nunquam aliud natura, aliud mea caprea dicit.

Utilis expositio super obscuras Guidonis sententias.

Et aliae voces ab aliis morulam duplo longiorem vel duplo breviorem aut tremulam habeant. Et Paulo post summopere caveatur talis neumarum distributio, ut cum neumae ejusdem soni repercussione, tum duorum vel plurium connexione fiant, semper tamen aut in numero vocum, aut in ratione tenorum neumae alterutrum conferantur et respondeant. Ut mihi videtur triplicem per haec verba designat cantilenae collationem: quia vult ut proportionalis fiat, aut intercapedo duarum vocum, quod notat dicendo: Et aliae voces ab aliis morulam duplo longiorem, vel duplo breviorem aut tremulam habeant: aut ut numerum vocum proportionaliter consideremus, quod his intimat verbis; aut in numero vocum, seu ut fiat comparatio, ut in ipsius vocis ultima protensione. Haec tria ut apertius intelligantur, sunt exemplificanda. Morula dupliciter longior est vel brevior, si silentium inter duas voces duplum est, ad aliud silentium inter duas voces. Eodem modo morula dupliciter est brevior, si taciturnitas inter duas voces simpla est ad aliam taciturnitatem inter duas voces. Quod dicit: aut tremulam habeant, puto intelligendum sic esse. Tremula est neuma quam gradatum vel quilisma dicimus, quae longitudinem de qua dicit duplo longiorem cum subjecta virgula denotat, sine qua brevitatem, quae intimatur per hoc quod dicit, vel duplo breviorem, insinuat. Secunda pars proportionis, quae describitur his verbis, aut in numero vocum, hunc ut arbitror habet intellectum. Ipse vocum numerus invicem est conferendus, ut neumae nunc aequae aequis, nunc duplae vel triplae simplicibus atque alias collatione sesquialtera vel sesquitertia respondeant. Aequae aequis respondent, ut semen cecidit in terram bonam. Quinque voces sunt in duabus dictionibus prioribus semen cecidit totidem in tribus sequentibus, in terram bonam, nunc duplae simplicibus, ut, Et obtulit fructum. Et obtulit. Quatuor sunt voces, duae in fructum, dupla ergo collatio. Nunc triplae simplicibus ut aliud, a habet unam vocem, liud tres: quia li duas possumus colligere voces in praedata neuma, unam in ud [1327]tres ad unam p triplum faciunt: atque alias collatione sesquialtera, ut centesimum dimidium dictio, id est cente duas alias, medietas, id est simum tres habet voces, unam in si, duas in mum, quae conquiniscentem, id est, inclinativam resultat. Ternarius ad binarium sesquialtera vel sesquitertia collatione, sicut est venite Benedicti. Venite tres, Benedicti quatuor habet voces. Quaternarius ad ternarium est sesquitertius, tertia pars est proportionis, quae describitur his verbis, aut in ratione tenorum neumae alterutrum conferantur et respondeant. Tenor est ultimae vocis protensio, quae ad invicem confertur ita, ut numerus vocum et intervalla, earum nunc aequae aequis, nunc duplae vel triplae simplicibus, atque alias collationes sesquialtera vel sesquitertia conferantur, et respondeant. De quo tenore vel protensione domnus Guido dicit: Tenor vero, id est mora ultimae vocis, qui in syllaba quantuluscunque est amplior in parte, diutissimus vero in distinctione. Verbi gratia Dixit Dominus mulieri Cananeae. Unam ergo distinctionem habet in dixit, partem in dixit Dominus; distinctionem dixit Dominus mulieri Cananeae. Habeatis syllabam. In dixit finalis xit aliquantulum protendatur. In dixit Dominus finalis nus producatur amplius. In dixit Dominus mulieri Cananeae finalis protendatur diutissime.

Proponat sibi musicus quibus ex his divisionibus incedentem faciat cantum, vel quae sint illae divisiones. Sicut enim metrorum plurimae sunt divisiones, quia quaedam sunt Asclepiadea, quaedam Saphica, quaedam Alchaica, et ad hunc modum Hyponactica, nonnulla etiam Gliconica: sic melodiarum neumae plurimas habent divisiones, dum una sit divisio aequarum ad aequas, altera et tertia duplarum triplarumque ad simplices, quarta quintave ut sesquialterarum sesquitertiarumque distinctiones distinctionibus sunt aequales, ut in bene procuratis cantibus apparet sicut in illo. [sqb]. Ecce nunc tempus acceptabile, una distinctio. Ecce nunc dies salutis, altera. Commendemus nosmetipsos, tertia. In multa patientia, quarta. In jejuniis multis, quinta. Per arma justitiae, sexta. Virtutis Dei, septima. Quae omnes penes sunt commensurabiles ut in modum currentis equi voces ad locum respirationis accedant. Spissim autem et raro prout oportet notae compositae hujus rei poterunt indicium dare. Equus dum currit, crebrius ungulas figit, dum cessare cogitat, rarius vestigia collocat, ita juxta finem distinctionum ut rariores, id est tardiores voces succedant est procurandum. Quod autem dicit, spissim autem et raro prout oportet notae compositae, hujus rei poterunt indicium dare arctius est scribendi et neumandi distinctio, donec ad finem appropinquet. Juxta fidem autem dissipetur scriptura cum neumis, ut cantori sit indicium praedictae [1328]tarditatis in hunc modum, Miserere mei fili David, quia si in tetrachordo finis est quarta chorda, principium est in eo prima chorda, sed hoc est; ergo D. secundum hanc rationem, et quarta est gravium, et prima finalium. Hac ipsa argumentatione sit probatum, quod d. sit quarta superiorum, prima excellentium.

Quod probatio ista pertineat ad materiam autenti et subjugalis.

Jam probavimus, quod modus saepe dictus inter D. d. constitutus tam materialis sit plagae quarto, id est, octavo tono, quam autento primo, primo videlicet tono, quodque tam vere dicatur, hypomixolidius quam dorius: quia cum constet quarta gravium, quarta superiorum, prima finalium, prima excellentium, probandum erit, quartam gravium, quartam superiorum plagali esse materiales: aut audiamus, si naturaliter possimus tribus gravibus A. B. C. tribus superioribus a. [sqb]. c. quod non sint constitutive et materiales tribus plagis, tono scilicet secundo, quarto, sexto, aut quartae gravium, quartae superiorum: concedamus, ut materiales sint claves quarto plagali, octavo denique tono; sed impossibile est, ut tribus praepositis gravibus et superioribus trium plagarum constitutionem adimamus. Ergo possibile est et verissimum, ut quartae gravium et superiorum quartae plagae, id est, toni octavi essentialem concedamus.

De proprietate Protorum, Deuterorum, Tritorum, Tetrardorum.

Proprietas est protorum, ut concordent in elevatione per diapente, in depositione per tonum.

Proprietas est deuterorum cum integra diatessaron per intensionem, ditono per remissionem.

Proprietas est tritorum, ut concordent intensione ditono, diatessaron remissione.

Proprietas est tetrardorum, ut protis opponantur; quatenus horum elevatio istorum sit remissio.

Quod non sit firmius argumentum quam proprietas.

Quamvis satis sit probatum, quod de plagali materia, videlicet quarta gravium, quarta superiorum, quarta plagalis species, id est, tonus octavus possit conformari, nam inficiari vere non possumus, quin possit aureus de auro fieri stilus, tamen adhuc ipsi sufficientiae violentiam volumus inferre, etiam non necessariorum copiam ministrantes argumentorum.

Efficacius argumentum ipsa proprietate non possumus invenire. Neque enim temere proprietates troporum cogitavimus praemittere.Videamus si D. d. tam tetrardi quam proti proprietates possit habere. Tetrardorum est proprietas, ut protorum intensio sit illorum remissio. Sed D. ita remittitur per tonum, [1329]semitonium, tonum, sicut A. protus tono, semitonio, intenditur.

Quod aequaliter de se praedicentur species et propria.

Omnis homo risibilis est, et omne risibile homo est. Omnis tetrardus per tonum, semitonium, tonum remissibilis est, et omnis remissio toni, semitonii, toni tetrardus est. Sed D. d. remittitur tono, semitonio, tono; ergo tetrardus est. Si tetrardus est; aut autentus est, aut plagalis. Sed necesse est, ut sit plagalis, quia nullus autentus gravibus et superioribus constat. Irrefragabilibus transactis argumentationibus, et prolixo naturae suae finito scrutinio, baptizemus eundem modum, nominantes eum hypomixolidium, ut sic sit binomius, sicut eum biformem novimus.

Cur dicantur Tropi.

Tropi dicuntur a reversione; quia ubiubi cantus quocumque ascendat seu descendat, ad ultimum in finalis revertitur domicilium.

Utrum Trite Synemmenon infra vel supra transductoriam ponenda sit lineam, et utrum molle b. rotundumque sit magis necessarium, minusve quam quadratum [sqb].

Causa est antiquior quam effectus, ut ignis combustionem praecedit. Cum hiatus diezeuxis, id est disjunctionis tetrachordorum, patribus nostris plurima canendi praetendisset offendicula: quia tritus finalis F. supra quarta, tritus excellens f. infra caruit quinta, interposuerunt trite synemmenon ad emendandum jubilationis defectum. Ibi causa est diezeuxis, interpositio synemmenon est effectus, ergo posterior, Quae sit posterior inventione, sit etiam posterior in sessione, sicut advena in domo aliena. Suscepta quidem sicut iambus spondeos stabiles in jura paterna recepit, commodus et patiens, non ut de sede secunda cederet, aut quarta socialiter. Ergo synemmenon infra collocetur, non supra. Quae harum sit utilior chordarum perpendere possumus, si discernemus cujus sit frequentior usus.

Quod tritus maxime indigeat synemmenon, cum ipsa suppleat vicem superiorius triti.

Cantus quinti et sexti toni potissimum indigent synemmenon, cum ipsa sit vicaria triti superioris. In proto quoque succinit, sed rarissime, ut in Ecce nomen Domini venit de linginquo. Quadratum autem [sqb] non solum in deutero, qui suus domesticus est, sed etiam in proto, in tetrardo, in ipso quoque trito conversatur assidue: quamvis trito familiari non sit vicinitate conjunctum, quia nec a finali F. nec ab excellenti f. aliqua distat consonantia. Hinc licet perpendere b. utile, [sqb]. autem multum utilius esse, ideoque admodum esse commodiorem conjunctione disjunctionem. Qua etiam ratione frequentioris utilitatis et rarioris possumus colligere infra b. supra [sqb]. notandum esse in hunc modum.


a   [sqb]  c
  b

[1330]Quod non sit dicenda quinta, sexta, septima, octava species diapason, quamvis sint octo.

Licet sint octo species diapason, quintam tamen et sextam, septimam, et octavam dici naturae veritas non patitur. Cum enim omne totum de suis partibus nominetur veraciter, idem in tota diapason, et in suis partibus, diatessaron scilicet ac diapente, considerare debemus. Species diatessaron et diapente non plures quam quatuor scimus esse; sed cum species diapason constituantur de speciebus diapente et diatessaron, non possunt fieri plures, quam partium species: sed quoniam quatuor species diapason constituuntur, ita ut diatessaron praecedat, diapente sequatur, quae sunt plagales; quatuor autem ita, ut diapente praevia diatessaron sit assecla, quae sunt autenticae: patet profecto octo species esse, sed nullam earum quintam vere dici posse, cum neque diatessaron nec diapente quinta species inveniatur esse. Quis dicit aulam ligneam de ligni partibus non constructam? Similiter quis dicit quintam speciem diapason de quintis partibus non consistentem; cum nulla diapente sit quinta, nulla diatessaron, quae sunt constitutivae partes diapason? Sed tamen octo species sunt diapason, quamvis nulla quinta: quia octonarius veraciter habetur ac computatur, ubi quaternarius duplicatur. Quatuor species sunt diapason autenticarum, quatuor plagalium, quae complent octonarium; nullam tamen, ut praediximus, quintam vere dicere possumus.

De similitudine gemelliparae quatuor vicibus geminos.

Cogitemus aliquam in tantum esse fetosam, ut quatuor vicibus sit gemellipara, quosdam germanorum primigenas, vel, ut ita dicamus, secundigenas, tertigenas, quartigenas dicere possumus, nullum autem quintigenam, cum eorum nemo quinta vice sit genitus, quamvis octo tamen esse non dubitemus.

Quod quidam unam musam, quidam duas, tres, quatuor, quinque, sex, septem, octo, novem esse possint dicere secundum multiplices rationes..

Unam musam possumus asserere, generalem, scilicet monochordum vocis humanae, quae ex una fistula colli efficacissime jubilat omnia melorum genera, cui nullae hydrauliae, nullae aliae comparantur fistulae. Haec cum cunctarum suppleat officium, duas musas possumus conjicere in autentorum et plagarum esse dualitate, aut in pulsationis, ac inflationis duplicitate: quarum altera cymbalis et chordis, altera fistulis servit et tybiis: vel in bifida arsis et thesis, id est, elevationis et depositionis natura, sine qua non fit aliqua vox musica. Quid est musica? Motus vocum. Omnis autem vocis motus vel arsi fit aut thesi.

Tres musas intelligimus, non absurde tria genera musicae: Diatonicum, chromaticum, enarmonium: seu tres sunt musae, ipsa vox humana, pulsationis, inflationisque mixtura marinis in scopulis resultans syrena. Quae Graecum sortitur vocabulum: Syrin, ([surein]) enim Graece dicitur contrahere, unde syrtes [1331]dicuntur, ubi arenae contrahuntur. Hinc etiam comicus dicitur syrus, qui sua calliditate fugitivum argentum traxerat ad se. Pauca sunt in fabulis, quae non aliquo fonte deriventur veritatis. Ferunt syrenas cantatrices esse maritimas, quae nautas interficiant improvidos dulcioribus ad se modis illectos. Quaedam concava saxa in mari sunt prominentia, in quibus collisio procellarum dulcisonam imitatur melodiam, quae cum dulcedine sua praetereuntes contrahit, miserabili nonnunquam naufragio submergit. Sicut hujus mundi syrenae blandientes, videlicet illecebrae, nostri similes periculosissimo animarum submergunt naufragio.

Quatuor musas temere non arbitramur aut quatuor continuos antiquorum, quos praelibavimus tropos, vel quatuor tetrachorda, G. F. S. E. omnem melodiam possidentia. Sive pythagoricos quatuor malleos, quibus quatuor symphoniarum, toni, diatessaron, diapente, diapason, reperit proportionem, seu quadripartitam monochordi distributionem, quae ascendendo primo constitutivo passu diatessaron, secundo diapente, tertio diapason constituit; descendendo autem econtrario primo constitutivo passu diapason, secundo diapente, tertio diatessaron.

Quinque credimus musas V. majores symphonias sesquitertiam, sesquialteram, duplam, triplam, quadruplam, aut V. vocales, sine quibus non fiunt voces litterales, seu ad V. referamus musas omnes penitus litteras V. modis divisas: quia quaedam sunt vocales, quaedam [I. supra lin.] semivocales: hae mutae [II. supra lin.], illae liquidae [III. supra lin.], duplices aliquae [IIII. supra lin.]. Seu [V. supra lin.] intelligamus V. musas V. sensuum noxias fenestras, per quas anima bibit temporalium delectationes et musas.

Sex musas sex minores perpendamus esse consonantias: semitonium, tonum, semiditonum, ditonum, diatessaron, diapente: quibus omnis conformatur neuma regularis. Has sex duntaxat domnus Guido diligebat.

Septem musarum ad intellectum sumamus septem discrimina vocum: quia caeterae non additio sunt, sed earumdem repetitio; vel septem planetas.

Octo musas octo tonos intelligamus, quorum magisterio totum corpus cantionis disponimus, et gubernamus.

Novem esse musas omnis consensit antiquitas, imitatrix mundanae, quae novem circulis continetur, musicae. Coeli et terrae duo circuli septem planetis adjuncti novem perficiunt: ad quam similitudinem in terrestri nostra musica novem computaverant musas, novem videlicet consonantias. Voces unisonas, semitonium, tonum, semiditonum, ditonum, diatessaron, diapason, diapente cum semitonio, diapente cum tono. Unisonae voces ut: Adjuva nos Deus salutaris noster semitonium ut Missus est Gabriel angelus ad Mariam sed puerile est de tam manifestis uti exemplis. De novissimis tantum duabus exempla proponamus: id [1332]est, de diapente cum semitonio, de diapente cum tono, quia hae et minus proportionales et minus usuales. Diapente cum semitonio sonat in illius hymni principio. Mare, fons, ostium, atque diapente cum tono in: Ad te levavi animam meam Deus meus in te, Et in: Jam non estis hospites et advenae, sed estis cives sanctorum et domestici.

De simplici cymbalorum mensura sesquitertia et sesquialtera proportione intensa et remissa, et cur similis sit monochordi cymbalorumque mensura.

Arbitror idcirco eodem modo se habere mensuram monochordi, cymbalorumque, quod pulsatio sonum excitat utrimque, tinnitus chordae et cymbali ferit aerem liberum nullis circumstantiis clausum. Sed distat ab illis mensura fistularum, fortassis propter aerem in ipsis coarctatum, qui dum se dilatandi libertatem fistulae circumstantiis cohibitus non habeat, quaerit non solum longitudinis, sed etiam grossitudinis adjectionem. Unde in reperiendo tono non solum priores fistulae longitudinis, sed grossitudinis, id est diametri octavam partem assumimus, ut patebit in sequentibus: sed ad cymbala redeamus.

Propter toni tarditatem sesquitertia sesquialteraque proportione mensuram statui intendere et remittere. Octo cymbala sunt ratione dimetienda reponderatione cerae, quam ad primum cymbalum expendas, duas diligenter provideas; quarum alteram in duas, alteram in tres partes distribuas. Et isti, quam in duas divisisti, propria medietate, illi tertia sui adjecta parte formes tibi duo cymbala, primo per diatessaron et diapente respondentia, habeas quoque illius, quam in duo distribuisti, reponderationem, quam dividens in quatuor dimoveas quartam de tribus partibus secundum cymbalum compositurus. Ejusdem secundi cymbali reponderationem cerae sumas, et ejus medietate sibimet superposita formam sexti fingas cymbali. Cujus reponderationem quatuor partibus distribuens, quartam secernens, de tribus tertium conformes cymbalum, quod per medium dividens tantumque ut est dimidium superaddens, proponas septimum. Cujus reponderationem quadripartiens quartamque rejiciens, de tribus synemmenon conficias.

Monochordi mensura ejusdem proportionibus constituta.

Totum monochordum a gamma quatuor passibus dividas, et in primi fine C. secundi G. tertii g. ponas. Post a gamma tribus passibus ascendas, ac in primi fine D. secundi d. constituas. Deinde remittas diatessaron ad D. tribus, quarta vice A. positurus, ascendas ab A tribus, diapente intensurus. In primi fine ponas E. in secundi e. jam remittas tribus diatessaron ad E. quarta vice ponens B. a C. diatessaron intendas, et in primi fine F. scribe, secundi c. Ex F. diatessaron intendas, ut primo synemmenon, secundo f. invenias, a. [sqb] aa residuae litterae dupla ab aequivocis inveniantur proportione. Eandem [1333]remittas diapente duobus ad F. tertia vice inferius synemmenon scribe.

Ejusdem mensurae epigramma.

Passibus in primis totum partire quaternis.

r. gamma locans C. C. g. divide post tribus aeque,

Inscribe D. d. post haec remeas tribus ad D.

Scribatur gravis A. suspendas tribus E. post c,

Ponas, descendens et ad E. tribus in quarta vice fac B.

Bis binis ex C. veniens F. scribe, dehinc e.

Sic synemmenon et f. totidem fac passibus ex F.

Quicquid adhuc restet jam dupla proportio praestet

A [sqb] rursus et aa. sunt aequivocis statuenda

B. de b. legem require decet per eandem.

Alia monochordi mensura ab acutis incipiens.

Primus passus ab aa. per diatessaron remittitur in E., secundus vacat, tertius in A. quartus vacat, quintus in E. sextus in D. septimus et octavus vacant, nonus in A. Ab a. per diapente in D. remitte; inde a D. per diatessaron in G. remitte: a G. per diapente primum passum in c. secundum in G. tertius vacat, quartus in C. quintus vacat, sextus finit in gamma. Fiat ut f. de c. bis binis scandimus aeque: ab f. remitte per diapente, primus passus in synemmenon, secundus tendit in F. tertius vacat, quartus in synemmenon inferius: ab e. remitte diatessaron, primus terminat in [sqb]. secundus vacat, tertius in E. prius inventum, quartus vacat in B.

Antiqua fistularum mensura quae intenditur.

Mensuram duorum ordinum, id est XVI. fistularum hic dicere sufficiat, secundum quam alios quot libeat ordines quivis adjiciat. Primam fistulam tantae longitudinis ac latitudinis delibera, quantam mediocritas cum arbitrio doceat, longitudo aut fistulae ac plectro sursum habetur, et latitudo est ipsius concavitatis capacitas, qua se in summitate in modum circuli aperit: qui nimirum circulus non secundum ambitum suum, sed per medium duobus hemispheriis divisus diametrum dicitur. Hujus diametri longitudinem circino deprehensam statim post primae fistulae informationem in summitate ejusdem primae fistulae duabus lineis aequalibus depinge, et unam earum in octo, alteram in duas et in tres; et in quatuor aequas partes divide, et post haec tota mensura tibi erit facillima. Secundam autem a prima sumpturus octavam diametri ejusdem primae fistulae longitudini aufer, reliquum ejus spatium usque ad plectrum in octo partire, et nona in summitate rejecta, habebis secundam. Tertiam inventurus secundae fistulae longitudini octavam diametri tolle, residuum ejus spatium usque ad plectrum in novem divide, et nona parte in summitate praetermissa tertiam invenisti. Quartam quaesiturus primae fistulae longitudini tertiam diametri adime, reliquum ejus spatium usque ad plectrum in quatuor divide, et [1334]quarta, et parte ablata quartam cum integro diatessaron addidisti. Quintam reperturus primae fistulae diametri medietatem disjunge, reliquum ejus usque ad plectrum spatium in tria divide, et, tertia in summitate separata, quintam cum diapente aggregasti, Sextam appositurus secundae fistulae longitudini item medietatem diametri abscide, reliquum ejus spatium in tres partire, et tertia relicta sextam subjunxisti. Synemmenon ostensurus quartae fistulae tertiam diametri reseca, residuum ad plectrum spatium in quatuor divide, et quarta parte omissa synemmenon designasti. Septimam invenies si tertiae medietatem diametri amputabis, et reliquum in tres divides, et tertia in summitate rejecta, septimam finalem constituisti. His ita dispositis octavam a prima, nonam a secunda, decimam a tertia, undecimam a quarta, duodecimam a quinta, decimam tertiam a sexta, inferius synemmenon a superiori synemmenon, decimam quartam a sexta, hoc modo facillime ordinabis, ut unicuique superiorum integrum diametrum excipias, et reliquum ejus spatium usque ad plectrum in duas partes dividas, ac superiore declinata, inferiorem, plectro dico contiguam, pro octava suscipias.

Nova fistularum mensura quae remittitur.

Domnus Willehelmus prius Emmerammensis Ratisponae monachus, nunc autem alibi abbas venerandus fistularum novam exquisivit mensuram prioris intensionem convertens in remissionem, quam mecum communicavit. Nam meam dilexit parvitatem ultra parvitatis dignitatem, qui est musicus primus; modernus videlicet Orpheus et Pythagoras. Cujus est ista dispositio. Primae ergo longitudo, sicut placuit dommo Willehelmo, usque ad plectrum haec est. Grossitudinem autem quae aequais est omnibus, iste designat circulus.

[PLCL:1334; text: Diametri partes. tertia, media]

Primae igitur fistulae quantitas in octo dividatur, eique octava pars cum octava diametri apponatur, et erit secunda: secundae item longitudo in octo partiatur, additaque octava cum diametri octava, erit tertia. Primae item in tres dividatur, additaque tertia cum tertia diametri habebis diatessaron in ipsa quarta peractum. In hac ipsa incipit integer minor

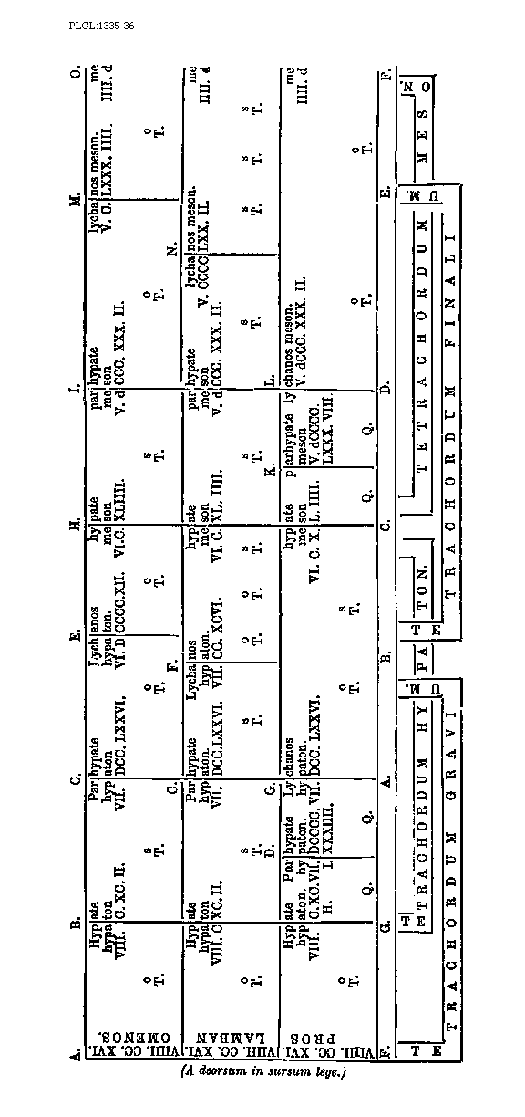
[1335-36][PLCL:1335-36; text: A. B. C. D. E. F. G. H. I. K. L. M. O. Q. Tonus, Semitonium, Hypate hypaton, VIII. C.XC.II. Parhypate hypaton, VII. DCC.LXXVI. DCCCC.LXXXIIII. Lychanos hypaton. VI. DCCCC.XII. CC.XCVI. DCC.LXXVI. hypate meson, C.XLIIII. parhypate meson, V. dCCC.XXX.II. dCCCC.LXXX.VIII. lychanos meson. C. LXXX.IIII. CCCCLXX.II. me, IIII.d, Tetrachordum hypaton. Tetrachordum meson. Tetrachordum gravi, Tetrachordum finali, VIIII. CC.XVI. Proslambanomenos. (A deorsum in sursum lege.)]

[1337-38][PLCL:1337-38; text: O. P. Q. R. S. T. V. A.A. BB. CC. DD. EE. FF. GG. A, B. C. D. E. f. G. Tonus, Semitonium, Mese diatonicum. Mese chromaticum. Mese enarmonium. IIII dC. VIII. trite synnemenon, IIII. CCC.LXX.IIII. CCCC.XC.I. paranete synnemenon, III. dCCC.LXXX. VIII. C.IIII. nete synnemenon. CCCC.L.VI. Diatonicum. Chromaticum. Enarmonium. se, C.VIII. paramese, XC.VI trite diezeugmenon, d.CCC.LXXX.VIII. dCCCC XC.II. paranete diezeugmenon, CC.CC.L.VI. d.C.XL.VIII. dCCC.LXXX.VIII. nete diezeugmenon, LXX.II. trite hyperboleon, II. d.CCCC.XVI. dCCCC.XC.IIII. paranete hyperboleon, d.XC.II. dCC.XXX.VI. dCCCC.XVI. nete hyperboleon, CCC.IIII. Monochordum. et Hucbaldi. Regulare Boetii, Tetrachordum superiorum, Tetrachordum diezeugmenon. Tetrachordum excellentium. (Sequitur tabula. A deorsum in sursum lege.)]

[1339]ordo priorque. Tertia item fistula in octo dividatur, additaque octava cum octava diametri, synemmenon reperitur. Item prima in duo dividatur, additaque medietate diametri, quinta perficitur. Secundae item longitudo in duo partiatur, additaque medietate cum medietate diametri, sexta peragitur. Tertia similiter in geminas partes dividatur, appositaque altera cum altera diametri parte, septima producitur. Octava a prima sic inveniatur. Prima duplicetur; insuper integrum diametrum apponatur, et octava reperitur. Et sicut per primam inventa est octava, eodem modo omnes subsequentes facillime reperire poteris, tantum si singulis integrum diametrum apposueris.

Aribunculina fistularum mensura, nec in toto remissibilis, nec in toto intensibilis sesquitertia et sesquialtera proportione.

Nos autem in utraque progredientes modo hanc intendendo et abjiciendo, modo illam remittendo et adjiciendo, sequentes in neutram declinamus, quia tonum per octo novemve particulas reperire nolumus. Non sine ratione quidem; quanto enim mensura celerior, tanto et verior est. Alicujus spatii quartam vel tertiam dimidiumve octava vel nona parte quaeri certius et velocius pene patet omnibus. Unde sesquitertia sesquialteraque tendere susumque jusumque disposuimus proportione. Primae fistulae pars tertia cum tertia diametri sibimet addita format quartam. Item primae medietas cum diametri medietate sibi juncta generat quintam. Quinta quarta sui parte cum tertia diametri deposita secundae staturam proponit. Secunda sui diametrique medietate praesumpta, sexta est mensura. Sexta quarta sui tertiaque diametri rejecta tertiam constituit. Tertiae medietas cum diametri medietate sibimet superposita, mater est septimae. Cujus quarta cum diametri tertia detruncata, quod restat, fistulae synemmenon retinentis longitudinem praestat. Vela sollicitudinis deponamus, quia jam securitatis partum occupamus. Prima duplex cum integro diametro reddit octavam, secunda nonam, tertia decimam, quarta undecimam, synemmenon aliud synemmenon, quinta duodecimam, sexta decimam tertiam, septima decimam quartam: totidem etenim organicis fistulis uti placuit experientiae domni Willehelmi, qui duobus ordinibus, quatuordecim videlicet fistulis tres adjecit, ut tetrachordum praestrueret, ut competens acumen in minimis, et opportuna gravitas responderet in maximis.

Organicae dispositionis mensura.

Ex a. suspende primum diatessaron in D.

Ex a. rursus in E. resupinam duc diapente.

Deponas et ab E. passum diatessaron in B.

Rursus in F. de B. memor intendas diapente.

Ex F. depone speciem diatessaron in C.

Intendas a c. contingens G. diapente.

A D. suspendi debet diatessaron in Sy.

Qualiter ipsae congruenter fiant fistulae.

Sicut fistulae ejusdem sunt grossitudinis, ita laminae, [1340]de quibus fiant, ejusdem sunt latitudinis. Prius juxta domnum Willehelmum grossitudinis depinximus circulum. Qui de qua latitudine possit provenire, caute debemus perpendere. Dicit Macrobius de somnio Scipionis: Omne diametrum cujusque orbis triplicatum cum adjectione septimae partis suae mensuram facit circuli. Haec sunt verba Macrobii. Unde ejus auctoritatem sequentes praescripti circuli diametrum triplicemus, septimamque diametri simul adjungamus: et secundum quantitatem lineae, quae inde procedat, omnium laminarum fistulis materialium latitudo fiat. Hae laminae in lateralibus extremitatibus attenuantur: praecipue, quae extremitates cum fabrili manu eas incurvante conveniant, non superponantur sibimet, sed osculo tantum collidantur conjunctissimo. Ad cujus osculi commissuram tegendam praeparentur laminellae festucae tenuitatem et latitudinem habentes, quae sibi tenacissimo conglutinentur stagno, seu alio, quod lentius diuturniusque perseveret, lotario. Postquam autem in lamina adhuc patula cujusque fistulae longitudo determinetur punctis utrimque in lateribus fixis, linea per transversum de puncto tendat in punctum. Illa linea terminalis sit foramini et ori fistulae: quod os super ipsam ita excidatur lineam, ut ad medietatem latitudinis fistulae aperiatur. In ipsam quoque lineam plectrum arctissime conglutinetur. A quo plectro subterius oris labrum mediocris festucae distet latitudine.

De naturali musico et artificiali.

Quamvis nihil ars primo, natura inveniat postremo, ut quidam asserit sapientium, expolitius tamen fiet per artem, quod incultum et hirtum naturae genitricis procedit ab utero. Ars enim ab arctis, quibus constringi conformarique debet, dicitur regulis. Nobis admodum consanguineam et naturalem esse musicam praecipue possumus ex hoc perpendere, quod quique histriones totius musicae artis expertes quaslibet laicas irreprehensibiliter jubilant odas, in varia tonorum semitoniorumque positione nihil offendentes, ad finalem chordam legitime recurrentes. Unde quamvis non vere, verisimiliter tamen tractat Plato de animae genitura, dicens eam compositam musicis proportionibus. Cum enim dupla proportio, sesquitertia, sesquialtera, sesquioctava jocunditatem mentibus intonat, potest a gentilibus credi non incongrue animas ex eisdem proportionibus consistere; cum similitudo sit amica, dissimilitudo odiosa. Nam etiam boni bonos, reprobi diligunt perversos. Sed histriones et caeteri tales musici sunt naturales, non artificiales. Artificialis autem musicus est, qui naturalem omnium specierum diatessaron, diapente, diapason constitutionem intelligit subtiliter: qui dispositionem troporum naturae pedissequam cognoscit rationabiliter: qui principalium chordarum operationem perpendit efficaciter: qui troporum proprietates, quae in sex [1341]enordis consistunt, tenet memoriter. Ipse quoque artis facultate optime sciat legitima comprobare, vitiosa quaelibet emendare, irreprehensibiles per semetipsum cantilenas excogitare.

De musicae artis moralitate.

Ethicam, id est, moralem esse musicam quivis ex hoc potest percipere, quod, ut supra dictum, sua confert beneficia sine artis perceptione. Unde ejus usus arte possessus tanto nobis stabilior et perseverantior quanto ipsa nobis est naturalior, ut diuturnius argento inhaeret aurum quam cupro. Moralis esse penitus ostenditur, cum omnis sexus, omnis aetas in illa delectatur. Nec solum humanae, sed etiam ferinae suam jocunditatem communicat naturae. Percepimus quippe autentica, venatores foliis recinentes capreas aliasque feras ad se pellexisse; patetque non penitus fabulosum esse, Orpheum lyra, Plutonem placasse, cum legamus Davidem daemoniacam Saulis feritatem citharizando mitigasse. Nonne modulator Arion mortis evasit periculum, excutiens se super unum ad melodiam suam confluentium delphinorum? Musicae moralitatem etiam Plato demonstrat dicens: Animorum item placiditatem constituebamus in delinimentis et affabilitate musicae. Merito dicit Plato placiditatem animorum esse in musica, cum nulla inquietudo cum assidua musicae conversetur delectatione. Est tamen, ut legimus, quidam expertus, et in illa hoc satis esse ratum, nihil omni parte beatum: qui quosdam modos infirmiores, quosdam etiam sensit saniores, quem Phrygius ad quemdam thalamum traduxit, hypophrygiusque poenitentem reduxit. Nos quoque scimus quasdam species, ut diatessaron et diapente aliis esse pulchriores, ut prima et quarta, secundae et tertiae superant consonantiam. Prima et quarta semitonium habent in medio, ideo melius resonant. Secunda et tertia semitonium habent, haec in principio, illa in fine, et ideo surdius sonant. Sed in diatessaron speciebus tolerabilis est diversitas, in quibus ditonus sequitur semitonium, ut in secunda; vel praecedit semitonium, ut in tertia. In diapente autem secunda et tertia specie intolerabilis conturbavit nos tritonus: quem propter inconsonantiam cantionum possumus alterum nominare Coridonem; sed tamen est obsequio cantilenae nonnunquam necessarius, sicut rusticus Coridon dominorum sumptibus.

De opportunitate modulandi.

Duplex est jubilandi dulcedo, si ita proportionaliter conferantur neumae distinctionesque, sicut ipsae monochordi voces dispositae, sicut domnus Guido docet, musicus quidem tempore novissimus, utilitate primus, cujus merito alios ejusdem artis praeceptores ita comparamus, ut mutas vocalibus, cujus haec sunt verba: "Ac summopere caveatur talis neumarum distributio, ut cum neumae ejusdem soni repercussione, tum duarum aut plurium connexione [1342]fiant, semper tamen aut in numero vocum, aut in ratione tonorum neumae alterutrum conferantur atque respondeant: nunc aeque aequis, nunc duplae, vel triplae simplicibus, atque alias collatione sesquialtera vel sequitertia. Item ut more versuum distinctiones aequales sint, et aliquoties eaedem repetitae, aut aliqua vel parva mutatione variatae, et cum perpulchre fuerint duplicatae habentes partes, non nimis diversas, et quae aliquoties eaedem transformentur per modos, aut similes intensae et remissae inveniantur. Item ut reciprocata neuma eadem via redeat qua venerat, ac per eadem vestigia recurrat. Item ut qualem habitum vel lineam una facit saliendo ab acutis, talem altera inclinata e regione opponat respondendo a gravibus. Item aliquando una syllaba unam vel plures habeat neumas, aliquando una neuma plures dividatur in syllabas."

Quoniam quidem domnus Guido has praeceptiones suas sine exemplis reliquit, quia eas, ut sunt manifestas, credidit, nos eas valde simplicibus pro nostro captu exponemus. Neumae nempe unius soni fiunt repercussione, cum simplices sunt, id est vel una virgula, vel una jacens, vel cum duplices aut triplices in ejusdem sunt soni repercussione, tum duorum aut plurium connexione fiant. Duorum aut plurium sonorum connexione fiunt omnes neumae, exceptis praescriptis. Duae tribus... tres tribus... et aliae de amplioribus, quas modo praeterimus. Semper tamen aut in numero vocum, aut in ratione tonorum alter utrum conferantur, nunc aequae aequis. Aequae aequis conferuntur, cum simplices simplicibus, duplices duplicibus, triplices triplicibus opponuntur. Et hoc aut in numero vocum, ut in aequis duae duabus, tres tribus conferantur. In duplis duae uni, quator duabus, triplae simplis, aut in ratione tonorum. Tenor dicitur mora vocis, qui in aequis est, si quatuor vocibus duae comparantur, et quantum sit numerus duarum minor, tantum earum mora sit major. Unde in antiquioribus antiphonariis utrisque c. t. m. reperimus persaepe, quae celeritatem, tarditatem, mediocritatem innuunt. Antiquitus fuit magna circumspectio non solum cantus inventoribus, sed etiam ipsis cantoribus, ut quilibet proportionaliter et invenirent et canerent. Quae consideratio jamdudum obiit, imo sepulta est. Nunc tantum sufficit ut aliquid dulcisonum comminiscamur, non attendentes dulciorem collationis jubilationem. Item ut more versuum distinctiones aequales sint. Sicut in bene procuratis cantibus invenimus, quos metricos dicere possumus, ut: Non vos relinquam orphanos [II. supra lin.], alleluia. Vado et veniam ad vos, alleluia, et gaudebit [III. supra lin.] cor vestrum, alleluia.

Talis consideratio similis est rhetorico colori, qui compar dicitur, qui constat fere ex pari numero syllabarum. Hoc non de murmuratione nostra fiet, dicit Tullius, nam id puerile est, sed tantum afferet usus "Et [1343]aliquotiens eaedem repetitae, vel parva mutatione variatae," diversitatem neumarum ostendit, quia similitudo mater est societatis, ut Tullius dicit. Exemplum sit istud: In Jerusalem .... "Eaedem repetitae vel parva mutatione variatae." Pater resuscitat mortuos membraque curat debilia. Fluxum Sanguinis constrinxit et satiavit de panibus quinque millia. "Et cum perpulcre fuerint duplicatae," quasi exegesis est et expositio priorum, tamquam si diceret: Eaedem sint repetitae, sed tunc cum perpulcrae fuerint. "Et quae aliquotiens eaedem transformentur per modos," ut Festum nunc celebre semitonius est utrimque, sed diversi modi qualitatisque similis intensae et remissae, ut qui cogitaverunt. "Item ut reciprocata neuma eadem via redeat qua venerat" ut sydera maria continens arva. "Item ut qualem habitum vel lineam una facit saliendo ab acutis, talem altera inclinata e regione opponat respondendo a gravibus, ut: O admirabile. "Item aliquando una syllaba unam vel plures habeat neumas," ut laudes Deo; "aliquando una neuma plures dividatur in syllabas," ut Christi pugna.

Dicit item domnus Guido: Motus motui tum erit praepositus, id est in superioribus positus: tum appositus, id est cum in eandem vocem unius finis erit, alteriusque principium; tum interpositus, id est quando unus modus infra alium positus et minus est gravis, et minus acutus; tum commixtus, id est, partim interpositus, partimque suppositus. "Quorum exempla sicut priorum, ne simplicitas laboret aliquorum, proponemus. Motus motui erit praepositus, ut: Clarum decus; appositus, ut: Ecce ego mitto vos interpositus, ut: Nascetur nobis parvulus et vocabitur, Commixtus, ut: A dextris Patris qui sedet spiritum mittam nobis sanctum.

De opportunitate motus, qui dicitur praepositus, et quod tantum sit ascensionis.

Praepositus erit opportunior, si prior surgat per tonum, et intermisso semitonio praepositus iterum surgat per tonum, quia ita ambo in diapente constant, ut: Clarum decus; aut per ditonum tendens praepositus ad principium prioris per diapente resultet; quia considerationem proportionis, id est collationis habere debemus in illis. Unde praepositus per diatessaron et diapente non est formandus. Si autem prior surgat per semitonium interposito tono, praepositus scandat per tonum, ut ita principium ejus et finis ad principium prioris per diatessaron et diapente, ad finem autem ejus per tonum ditonumque resultet: aliis modis minus erit commode, cum proportionis commoditasque et concinentia non [1344]consideratur. Idem quoque motus tantum fit ascensione.

De commoditate apposita, et quod tam ascendendo quam descendendo fit.

Appositus ut ascensioni, ita est obnoxius et descensioni, ut Ecce ego mitto. Et dicent gloria tibi, Domine. Item intensus: Benedic Domine, qui motus honestior erit, si in proto ita fiat intensio: ut si prior surgat per tonum, appositus ascendat, aut per semitonium trocheicum, id est cujus longum toni spatium breve semitonii praecedit: quia semitonus est quidam trocheius, id est ex longo et brevi; quidam iambicus ex brevi, et velut D. E. F. G. Ditonus uniformis est tantum spondeicus, aut per diatessaron seu diapente, sed diatessarontice melius ascendit appositus, quia ejus principium et finis proportionaliter conferetur principio et fini praecedentis, finis principio et fini per diatessaron et diapente, principium fini per tonum. Sed diapenticus appositus tantum per finem fini praecedentis respondet per diapente, aut si prior surgit per trocheium, semitonium habet.. Sed haec apertius se praesentibus offerent colloquendo, quam absentibus scribendo. Quod nobis invidet commodum detestabilis intercapedo locorum; in sola enim ultima parte hoc argumentum reliquimus, ut melum suo tetrardo conveniens redderemus. Recordari debetis, domine mihi dilectissime, venerabilem Guidonem dixisse. Has itaque V. vocales sumamus. Forsitan enim tantum tribuunt concordiae verbis, quantum concinentiae praestabunt et neumis. Supponantur itaque litteris monochordi, et quia V. tantum sunt, tamdiu repetantur, donec unicuique sono sua subscribatur vocalis, et ad istum dirigent modum.


                                                a b [sqb] c d.
[Gamma]A B  C  D E F G.  a b [sqb] c d e f g.   a b [sqb] c d.
   a   e i o u.  a e i   o a.     a e i o  u.    a e     i o
    o   u. a e i o u. a   e i   o  u. a  e i    o u.     a e.

Et quibusdam interpositis subjungit: sed ne gravis tibi imponatur necessitas, quod ad hunc modum vix cuilibet symphoniae V. accidant voces, et ipsas transgredi saepe ad votum non sufficiat, ut tibi paulo liberius liceat evagari alio, item versum subjunge vocalium. Sed ita sit diversus, ut a tertio loco prioris incipiat hoc modo: Ecce quomodo moritur. Omnes syllabae contra suum vocalem sunt positae excepta hau, quae est in hauriat, ultima videlicet hujus versus parte, quia hau syllabae sunt, h. et u. et e et musicus causam tradit, cur ita mutaverit, quia convenientius sonat hau in F. quam in G. quae tetrardi finalis debet esse.

[PLCL:1343-44; text: A, [sqb], C, D, E, F, G, a, e, i, o, u, Linguam refrenans temperet nelitis horror in sonet visum fovendo contegatne vanitates hauriat.]

[1345]Aribonis sententia.

Quamvis autem duo semper toni in una sint littera vel voce, tamen multo melius et frequentius conveniunt singulis neumis ac sonis, formulis toni, secundi, quarti, sexti, et octavi. Nam formulae primi, tertii, quinti, septimi non conveniunt, nisi cum cantus descendit ab alto, et in gravem devenerit finem.

Alia sententia utiliter explanata.

Quamvis cantus sit autenticus, tamen plures ejus neumae et soni versantur in V. ejus chordis, quae communes sunt autentis et plagalibus, quam versibus, quae autentis separatim deputantur; ideoque saepius et melius formulis plagalium, etiam neumae autenticorum conveniunt, in quibus saepius morantur [1346]in antiphonis: Ecce nomen Domini quamvis sit autentica, plures tamen ejus neumae possunt plagales videri quam autenticae, ut puta: Ecce, et nomen, et Domini, et de longinquo, ac et claritas, et ejus, et replet, et orbem, et terrarum sunt plagales, ut pote spatio plagalium currentes; sola venit est autentica, omnes tamen ejus neumae plagales sunt dicendae, quia a finalis quinta non transcendit chordam: sic in pluribus eadem ratio est habenda, de quibus modo non est dicendum per singula. Quando autem a finali chorda diapente transcendunt, et sextam, septimam, octavam tangunt melodiae, tunc autenticorum formulis, quae alte extenduntur, conveniunt. Et hoc est, quod dicit nisi cum cantus alto descendit et in gravem devenerit finem.

Explicit Musica Aribonis.

This website is subject to a Creative Commons Attribution 4.0 International License. First published on December 13, 2025 by The Fenyx Group.